XD Study는 최신 IT 이슈에 대해 공부하고 의견을 나누는 모임입니다.
댓글과 하단 ❤ 부탁드립니다.
읽어보면 좋을 글
빨래는 매일하자!
빨래의 끝은 옷을 개는 것

자취생에게 가장 귀찮은 것은 청소, 빨래와 같은 집안일입니다. 자취하면 첫 번째로 느끼는 점이기도 하죠. (불효자는 웁니다...) 집안일 중에서도 빨래는 분리, 세탁, 건조, 개기, 정리 등 많은 과정이 있어 여간 번거로운 일이 아닙니다.
인류는 귀찮은 일을 해결하면서 발전해왔습니다. 하지만 지금까지 인류는 빨래의 전 과정 중 세탁과 건조 과정만을 정복했습니다. 여전히 건조된 옷을 개는 것은 우리의 몫이었죠.

하지만 누군가는 우리 몰래 빨래 개는 기계를 사용하고 있었나 봅니다. 빨래 개는 기계는 15년도 일본에서 처음 나오게 됩니다. 'Launroid'라는 이름이었죠. 여기서 더 나아가 16년도 목업형태 17년도에는 시제품이 나오게 되었습니다.

뿐만 아니라 폴디메이트라는 회사는 13년도 빨래감 해결 특허를 취득 17년도 프로토타입 출시 현재는 펀딩을 받으며 대기 리스트 고객에게 제품을 제공하고 있습니다.
K-빨래 개는 기계

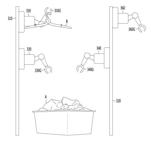
K가 빠지면 섭섭하죠. 백색가전의 명가 LG에서도 특허를 내놓았습니다. '로봇 및 이를 포함하는 의류 폴딩 장치'가 그 이름이며 로봇팔 2개가 서로 번갈아 옷을 주고 받으면서 옷이 펴지고 접히는 식입니다. 나머지 팔은 옷을 2개의 팔에 옮겨주는 역할을 하죠. 또한 옷 재질과 종류에 따라 빨래 개는 법이 프로그래밍 되어 있어, 보다 편리한 기기가 될 것 같습니다.
가벼운 주제 같지만 빨래 서비스의 완성을 바라보는 화룡점정의 순간입니다. 인류가 정복하지 못한 빨래의 마지막 단계를 해결하는 것이죠. 이는 새로운 시장을 여는 포문입니다. 고객 풀을 늘리는 것이 아닌 시장을 새로 개척하는 것은 완전히 다른 이야기죠.

또한 요즘 세탁특공대, 런더리고 등 다양한 세탁 구독 서비스들이 있는데, 세탁 전과정을 기계가 한다면 인력을 줄이고 서비스의 가격은 낮춰 만족도 높은 서비스들을 만들 수 있겠죠. 그리고 LG의 특허에서는 옷 재질과 종류에 따라 빨래 개는 법을 다르게 한다는데, 이는 머신러닝과 딥러닝 등 AI를 활용한 세탁물 관리가 가능하다는 이야기라 만족도를 넘어 완성도 높은 서비스를 제공하는 단초가 될 것 같습니다. 아마도 이런 기계가 상용화되는 데에는 시간이 꽤나 걸리겠지만 나왔을 때 스터디한 기억이 나서 즐거울 것 같네요
에이전트 J : I NEEDS YOU
항상 있으면 좋겠다 싶었던 기계 중, 빨래 개는 기계가 있었습니다. 세탁이나 건조 등은 이미 기계가 있어 버튼 몇 번 누르면 해결됐었으니까요. 그런데, 빨래를 개는 것은 온전히 나의 노동만으로 행해져야 하는 단계였으니 말이죠.
주변을 보면, 단순하고 별거 아닌 기술일 것같지만 정말 고도의 기술력이 필요한 일들이 많은 것 같습니다. 빨래 개는 것도 그냥 대충 개면 되는거 아냐? 그 쉬운걸 기계가 하게 하려면 어렵나? 싶지만 깊게 들어가보면 참 어려울 것 같습니다. 15년부터 슬슬 나오기 시작했지만 아직 완전한 형태의 제품이 안 나온 것을 보면 말이죠. 의류 관련한 수십만장의 사진 데이터도 필요하고, 이를 기반해 학습시킬 머신러닝 모델, 자유자재의 각도로 빨래를 개어줄 로봇팔들이 필요하겠죠. 편리함을 끌어내기 위해서는 참 많은 노력이 필요한 것 같습니다. 뭐 하나 쉬운 일이 없군요.
에이전트 H : 가전 제품에 익숙해져서 그렇지...
돌이켜보면 저도 모르는 사이에 많은 가전제품이 우리들 생활 속으로 들어온 것 같습니다. 저는 얼마 전까지만 해도 세탁기, 냉장고, TV까지가 필수적인 가전제품이라고 생각했습니다. 그러나 이제는 가정에서 로봇청소기, 스타일러, 건조기, 공기청정기 등 다양한 가전제품을 쉽게 볼 수 있다는 사실이 새삼 새롭게 느껴졌습니다.
특히 로봇 청소기는 연 30만대 판매량을 기록하고 있다고 합니다. 이러한 상황은 물론 코로나 사태와 연관도 있다고 생각합니다. 코로나로 인해 집안에서 보내는 시간이 많이 지고, 가전에 관한 관심이 높아졌다고 생각합니다. 이에 새롭게 출시된 가전제품들이 사람들의 생활 속에 자연스럽게 스며들 수 있었다고 생각합니다. 어쩌면 코로나의 그나마 긍정적인 효과로는 가전제품 기술의 발전 촉진..? 이 정도를 생각해 볼 수도 있을 것 같습니다.
그래서 저는 LG 전자가 시도하는 빨래를 개는 로봇팔도 가능성이 있다고 생각합니다. 이제 우리는 새로운 가전제품을 빠르게 받아 드릴 준비가 돼 있으며, 위드 코로나 시대에 집안에서 보내는 시간이 중요하다고 느끼니까요. 하지만 미국처럼 80만원.. 이라는 가격은 터무니 없다고 생각합니다. 특히 미국 제품의 경우 사람의 개입이 전혀 없는 것이 아니며, 사람이 하나하나 옷을 집어서 넣어줘야 하는데... 인간이 할 일을 효과적으로 대체했다고 보기는 어려운 것 같습니다. 만약 LG뿐만 아니라 타 기업에서 사람의 개입이 최소화된 상태에서 빨래를 개는 가전제품을 합리적인 가격에 개발한다면 미래에는 필수 가전제품이 될 수 있지 않을까 생각해봅니다.
'IT케이스스터디' 카테고리의 다른 글
| 쿠팡 플레이 OTT가 현실이 되다. (0) | 2020.12.29 |
|---|---|
| SKT, 삼성, 카카오가 모이면 어떤 시너지가 나올까? (0) | 2020.12.29 |
| 원격 의료 시장, 일본에서 네이버의 움직임을 알아보자 (0) | 2020.12.20 |
| 아마존과 경쟁하는 기업이 있다? 쇼피파이 (0) | 2020.12.20 |
| 리그오브레전드 톺아보기. (feat. 리그오브레전드 넷플릭스 리뷰) (0) | 2020.12.20 |




최근댓글